高精度、效率高
螺旋直径:300-3000 mm
长度:3850-17091 mm
应用范围:该分级机广泛适用于选矿厂中与球磨机配成闭路循环程分程分流矿沙,或用在重力选矿厂中来分级矿砂和细泥等。
因为您需要,刚好我们专业。欢迎来厂考察!
免费在线咨询分级机,又叫做砂石洗选机、螺旋洗砂机,主要有高堰式单螺旋和双螺旋、沉没式单螺旋和双螺旋四种类型。
该设备适用于选矿厂中与球磨机配套使用,在闭路循环过程中使沙子和矿物分流、在重力的作用下分级矿砂和细泥、或者在金属选矿流程中对矿浆进行粒度分级,也可以在洗矿作业中的脱泥、脱水等作业。该分级机具有结构简单、工作可靠、操作方便、节能等特点。
单螺旋分级机设备实拍
双螺旋分级机设备实拍
冰球突破螺旋分级机厂区
分级机是借助于固体粒大小不同,比重不同,因而在液体中的沉降速度不同的原理,细矿粒浮游在水中成溢流出,粗矿粒沉于槽底。由螺旋推向上部排出,来进行机械分级的一种分级设备,能把磨机内磨出的料粉级于过滤,然后把粗料利用螺旋片旋片旋入磨机进料口,把过滤出的细料从溢流管子排出。
螺旋分级机原理示意图
该机底座采用槽钢,机体采用钢板焊接而成。螺旋轴的入水头、轴头、采用生铁套,耐磨耐用,提升装置分电动和手动两种。分级机结构:分级机主要由传动装置、螺旋体、槽体、升降机构、下部支座(轴瓦)和排矿阀组成。
螺旋分级机结构
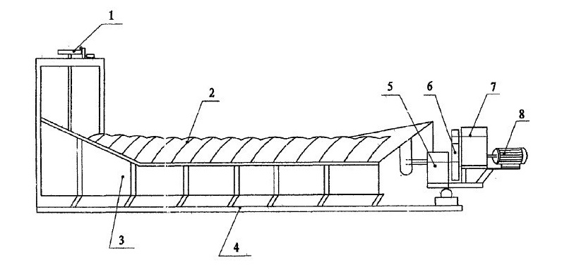
图中:1、提升器,2、螺旋叶片,3水槽,4、机座,5轴承,6、齿轮,7、减速器,8、电动机。具体实施方式:在图中,下边是机座4,机座4上面中、左部连接着水槽3,水槽3左端连接着提升器1,水槽3中提升器1往右是螺旋叶片,机座4上从右端依次向左固定连接着电动机8、减速器7、齿轮6、轴承5。
以上是冰球突破机器为用户设计生产的螺旋分级机设备生产现场。该设备的底板白用耐磨性钢板铸造而成,更加敬酒耐用,是用户非常喜欢的一款选矿设备。
冰球突破螺旋洗砂机准备装车
冰球突破螺旋洗砂机厂区发货现场
河南郑州分级机总部地址:河南省郑州市高新区檀香路8号。
分级机价格咨询热线:0371-67772626。
| 型号 |
螺旋直径(mm) |
水槽长度(mm) |
螺旋转速(r/min) |
处理量(t/d) |
电动机功率(kw) |
外形尺寸(mm≤) |
总重(t) |
||||
| 按返砂 |
按溢流 |
传动用 |
升降用 |
长 |
宽 |
高 |
|||||
| FG-3 |
300 |
3000 |
12-30 |
80-150 |
20 |
1.1 |
---- |
3850 |
490 |
1140 |
0.7 |
| FG-5 |
500 |
4500 |
8-12.5 |
135-210 |
32 |
1.1 |
---- |
5430 |
680 |
1480 |
1.9 |
| FG-7 |
750 |
5500 |
6-10 |
340-570 |
65 |
3 |
---- |
6720 |
980 |
1820 |
3.1 |
| FG-10 |
1000 |
6500 |
5-8 |
675-1080 |
110 |
5.5 |
---- |
7590 |
1240 |
2380 |
4.9 |
| FC-10 |
8400 |
675-1080 |
85 |
7.5 |
---- |
9600 |
1240 |
2680 |
6.2 |
||
| FG-12 |
1200 |
6500 |
4-6 |
1170-1870 |
155 |
7.5 |
2.2 |
8180 |
1570 |
3110 |
8.5 |
| FC-12 |
8400 |
1170-1870 |
120 |
7.5 |
2.2 |
10370 |
1540 |
3920 |
11.0 |
||
| 2FG-12 |
6500 |
2340-3740 |
310 |
15 |
4.4 |
8230 |
2790 |
3110 |
15.8 |
||
| 2FC-12 |
8400 |
2340-3740 |
240 |
15 |
4.4 |
10370 |
2790 |
3920 |
17.6 |
||
| FG-15 |
1500 |
8300 |
4-6 |
1830-2740 |
235 |
7.5 |
2.2 |
10410 |
1880 |
4080 |
12.5 |
| FC-15 |
10500 |
1830-2740 |
185 |
7.5 |
2.2 |
12670 |
1820 |
4890 |
16.8 |
||
| 2FG-15 |
8300 |
2280-5480 |
470 |
15 |
4.4 |
10410 |
3390 |
4080 |
22.1 |
||
| 2FC-15 |
10500 |
2280-5480 |
370 |
15 |
4.4 |
12670 |
3370 |
4890 |
30.7 |
||
| FG-20 |
2000 |
8400 |
3.6-5.5 |
3290-5940 |
400 |
11-15 |
3 |
10790 |
2530 |
4490 |
20.5 |
| FC-20 |
12900 |
3210-5940 |
320 |
11-15 |
3 |
15610 |
2530 |
5340 |
28.5 |
||
| 2FG-20 |
8400 |
7780-11880 |
800 |
22-30 |
6 |
11000 |
4600 |
4490 |
35.5 |
||
| 2FC-20 |
12900 |
7780-11880 |
640 |
22-30 |
6 |
15760 |
4600 |
5640 |
48.7 |
||
| FG-24 |
2400 |
9130 |
3.67 |
6800 |
580 |
15 |
3 |
11650 |
2910 |
4970 |
26.8 |
| FC-24 | 14130 | 6800 | 490 | 18.5 | 4 | 16580 | 2930 | 7190 | 41.0 | ||
| 2FG-24 | 9130 | 13600 | 1160 | 30 | 6 | 12710 | 5430 | 5690 | 45.8 | ||
| 2FC-24 | 14130 | 13700 | 910 | 37 | 8 | 17710 | 5430 | 8000 | 67.9 | ||
| 2FG-30 | 3000 | 12500 | 3.2 | 23300 | 1785 | 40 | 8 | 16020 | 6640 | 6350 | 73.0 |
| 2FC-30 | 14300 | 23300 | 1410 | ---- | ---- | 17091 | ---- | 8680 | 84.8 | ||